Product  BC5-Q08-AP6X2-V1131/S250

Safety Technology

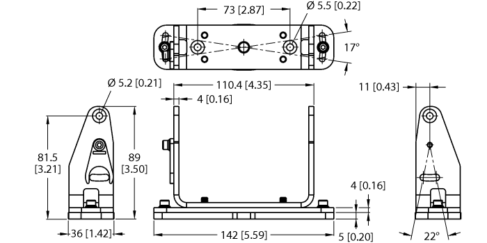
Mounting Bracket

For Safety Laser Scanners

Order number: 3806734

Alternative order number : 806734

    • Mounting Bracket
    • Adjustable tilt and roll
#
to top