Product LTX475M-F10-SSI2-GAF1-X3-H1161
Plastic Fiber
Bifurcated Fiber
Order number: 3061240Alternative order number : 61240
- Operation: diffuse/opposed mode
- Polyethylene sheath, flexible
- Operating temperature: -30…+70 °C
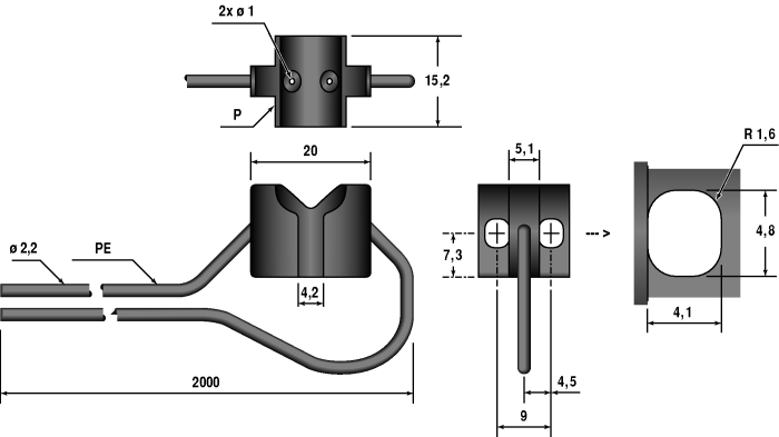
- Cable, straight, customizable
- End sleeve for sensor: Plastic adaptor for mounting on small tubes with angled beam
- Optical fiber, core diameter 1.0 mm
- Optical fiber, total length: ± 1829 mm

General data
| EAN | 662488612405 |
| eCl@ss-Code (V5.1.4): | 27061090 -/- Ready-made optical fiber (not classified) |
| Customs tariff number | 85447000900 |
| Country of origin | JP |
| Weight | 57 g |
Technical Data
| Design | Rectangular |
| Measuring principle | Optical |
| Housing material | Plastic, PE, Black |
| Ambient temperature | -30…+70 °C |
| Protection class | IP67 |
Mounting accessories
|
TXF-MT-05
Multi-Purpose Bracket with Cable Gland for TXF705, 707 and 710 |
100022475 |
|
REI-12H15T-4B1000-H1181 | 100010440 |
|
ABR3106-WSE1 | 3804437 |
|
S22AMTFBGHQP | 3813386 |
|
QS186LE212Q | 3075967 |
| BRO.P.LEVEL-LS_5.KO | 100044238 | |
|
RKC4.4T-20/TXG | 6630745 |
|
PKGS4M-5-PSGS4M/TEL | 6627451 |

